|
ZAJD型電動蝶閥有開關型和智能型二種,蝶閥與DTR執行機構配套,輸入控制信號(420mADC或15VDC)及單相電源即可控制運轉,具有功能強、體積小、輕便宜人,性能可靠、配套簡單、流通能力大,特別是適合于介質是粘稠、含顆粒、纖維性質的場合。目前該閥門廣泛應用于食品、環保、輕工、石油、造紙、化工、教學和科研設備、電力等行業的工業自動控制系統中。
一、閥體
二、閥內組件
閥芯形式:閥板
流量特性:直線特性或等百分比特性
材 料:HT200 ZG25I 1Cr18Ni9Ti襯橡膠襯四氟乙烯
三、執行機構
四、ZAJD蝶閥規格參數表
|
公稱通徑DN |
50 |
65 |
80 |
100 |
125 |
150 |
200 |
250 |
300 |
350 |
400 |
|
流量系數(Kv) |
110 |
180 |
232 8 |
368 |
656 |
735 |
1240 |
2025 |
2712 |
3875 |
503 |
|
動作范圍 |
0-90o |
|
允許壓差△P |
小于公稱壓力(1.6MPa) |
|
泄漏量Q |
按GB/T4213-92,為Kv值的10-4 |
|
環境溫度oC |
-20~60oC |
|
基本誤差 |
±2.5% |
|
回差 |
±2.5% |
|
死區 |
1% |
|
可調范圍 |
250:1 350:1 |
|
配用執行機構 |
DTR—05 10PSQ101381RSA-05 |
DTR— 20PSQ201381RSC-30 |
DTR-40PSQ501381RSC-50 |
DTR-60PSQ701 |

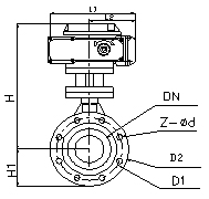
五、ZAJD971電動對夾式蝶閥尺寸
|
公稱通徑DN |
L閥度 |
H |
H1 |
D2 |
Z-фd |
D1 |
L1 |
L2 |
|
50 |
43 |
452 |
80/112 |
120/125 |
4-18 |
165 |
208 |
120 |
|
65 |
46 |
475 |
88/115 |
136/145 |
4-18 |
185 |
208 |
120 |
|
80 |
46/49 |
516 |
96/120 |
160 |
8-18 |
200 |
208 |
120 |
|
100 |
52/56 |
551 |
115/140 |
185 |
8-18 |
220 |
208 |
120 |
|
125 |
56/64 |
566 |
128/170 |
210 |
8-18 |
220 |
208 |
120 |
|
150 |
56/70 |
606 |
140/180 |
240 |
8-22 |
285 |
256 |
156 |
|
200 |
60/71 |
731 |
175/210 |
295 |
8-22 |
340 |
256 |
156 |
|
250 |
68/76 |
778 |
202/240 |
355 |
12-22 |
395/405 |
256 |
156 |
|
300 |
78/83 |
830 |
242/290 |
410 |
12-22 |
445/460 |
256 |
156 |
|
350 |
78/92 |
996 |
266/320 |
470 |
16-22 |
505/520 |
346 |
156 |
|
400 |
102 |
1058 |
298/350 |
515/525 |
16-26 |
565/580 |
346 |
156 |
注:表中數據XX/XX,“H1”為軟密封/硬密封;“D1、D2”為壓力1.0Mpa/1.6Mpa
六、ZAJD941電動法蘭式蝶閥外形尺寸
|
公稱通徑DN |
L閥厚 |
H |
H1 |
D2 |
D1 |
Z-фd |
L1 |
L2 |
|
50 |
108 |
539 |
825/112 |
165 |
125 |
4-18 |
208 |
120 |
|
65 |
112 |
554 |
925/115 |
185 |
145 |
4-18 |
208 |
120 |
|
80 |
114 |
569 |
100/120 |
200 |
160 |
8-18 |
208 |
120 |
|
100 |
127 |
614 |
110/138 |
220 |
180 |
8-18 |
208 |
120 |
|
125 |
140 |
649 |
125/164 |
250 |
210 |
8-18 |
208 |
120 |
|
150 |
140 |
725 |
1425/175 |
285 |
240 |
8-22 |
256 |
156 |
|
200 |
152 |
835 |
170/208 |
340 |
295 |
8-22/2-22 |
256 |
156 |
|
250 |
165 |
890 |
1925/243 |
395/405 |
350 |
12-22/12-26 |
256 |
156 |
|
300 |
178 |
995 |
2225/283 |
445/460 |
400 |
12-22/12-26 |
256 |
156 |
|
350 |
190 |
1155 |
2525/310 |
505/520 |
460 |
16-22/16-26 |
346 |
156 |
|
400 |
216 |
1225 |
2825/340 |
565/580 |
515 |
16-26/16-30 |
346 |
156 |
注:表中數據XX/XX,“H1”列為軟密封/硬密封;“D2、Z-фd”列表示壓力1.0MPa/1.6MPa
七、型號編制說明
|
Z |
A |
J |
D |
9 |
71 |
F |
16 |
P |
G |
|
自控閥門 |
執行機構類型: |
位移 特征: |
閥門代號: |
傳動形式: |
連接形式: |
密封面材料: |
公稱 壓力: |
閥體 材質: |
溫度類型: |
|
|
D:表示PS系列 |
J:表示角行程 |
Q:表示球閥 |
9:表示電動 |
41:表示法蘭 |
F:表示四氟乙烯 |
16:表示1.6MPa |
C:表示碳鋼 |
G:表示中溫型 |
|
|
R:表示3810系列 |
S:表示直行程 |
D:表示碟閥 |
6:表示氣動 |
11:表示絲扣 |
H:表示金屬硬密封 |
25:表示2.5MPa |
P:表示不銹鋼 |
常溫省略 |
|
|
A:DTR系列 |
|
V:表示V形球閥 |
|
71:表示對夾式 |
|
40:表示4.0MPa |
R:表示316 |
|
|
|
|
|
|
|
|
|
64:表示6.4MPa
|
F46:表示閥體襯四氟
|
|
八、訂貨須知
1.產品型號與名稱 2.公稱通徑DN(mm) 3.公稱壓力 4.流量特性 5.閥體材質
|